There are currently 222 documents in the archive.

Bibliography Archives List Library Listing

29 July 2012
Added "Space Debris and Its Mitigation" to the archive.
16 July 2012
Space Future has been on something of a hiatus of late. With the concept of Space Tourism steadily increasing in acceptance, and the advances of commercial space, much of our purpose could be said to be achieved. But this industry is still nascent, and there's much to do. So...watch this space.
9 December 2010
Updated "What the Growth of a Space Tourism Industry Could Contribute to Employment, Economic Growth, Environmental Protection, Education, Culture and World Peace" to the 2009 revision.
7 December 2008
"What the Growth of a Space Tourism Industry Could Contribute to Employment, Economic Growth, Environmental Protection, Education, Culture and World Peace" is now the top entry on Space Future's Key Documents list.
30 November 2008
Added Lynx to the Vehicle Designs page.
More What's New Subscribe Updates by Email
M Omiya & K Itoh, , "Development of a Functional System Model of the Solar Power Satellite, SPS2000", Proceedings of ISAP '46, Chiba, Japan.
Also downloadable from http://www.spacefuture.com/archive/development of a functional system model of the solar power satellite sps2000.shtml

References and Referring Papers    Printable Version 
 Bibliographic Index
Development of a Functional System Model of the Solar Power Satellite, SPS2000
Manabu Omiya and Kiyohiko Itoh
1. Introduction

SPS2000 is a strawman model of solar power satellites ( SPS) (1) with microwave power output of 10 MW, which was proposed by the SPS working group of the Institute of Space and Astronautical Science (ISAS) (2, 3). The primary objective of SPS2000 research is to show whether SPS could be realized with the present technology and to find out technical problems. The conceptual study of SPS2000 is now being carried out under the assumption that the first construction will be started before the beginning of the twenty first century. SPS2000 transforms the DC power generated by huge solar arrays to microwave power at 2.45 GHz and transmits it to the rectennas on the earth while it moves from west to east in an equatorial low earth orbit ( LEO) of 1100 km altitude. Transmission is possible when the rectenna can be in the field of view of the controllable microwave beam from SPS2000. Therefore, SPS2000 should always detect the location of the rectenna and direct a microwave beam toward the rectenna. In order to perform the beam scan, the spacetenna should have a function of a phased-array antenna (4, 5). We discuss a configuration of spacetenna of SPS2000 and an electrical design of its feeding network for power transmission antenna elements. Furthermore, we describe the conceptual design of SPS2000 followed by the configuration of the spacetenna and the feeding network. On the basis of the spacetenna proposed above, we design a functional system model of SPS2000 as a demonstration model and construct microwave circuits employing silicon (Si) semiconductors since there are many advantages in Si technology compared with others in terms of cost reduction, robustness of the system and extraterrestrial resources.

2. Solar Power Satellite, SPS2000

The general configuration of SPS2000 has the shape like a triangular prism with length of 303 meters and sides of 336 meters as shown in Figure 1 The prism axis is in the latitudinal direction, perpendicular to the direction of orbital motion. The power transmission antenna, spacetenna, is built on the bottom surface facing to the earth, and the other two surfaces are used to deploy the solar panels.

Figure 1. General view of SPS2000.

SPS2000 moves on an equatorial LEO at an altitude of 1100km. The choice of the orbit minimizes the transportation cost and the distance of power transmission from space. The spacetenna is constructed as a phased-array antenna. It directs a microwave power beam to the position where a pilot signal is transmitted from a ground based segment of power system, the rectenna. Therefore, the spacetenna has to be a huge phased-array antenna in size with a retrodirective beam control capability. So, microwave circuits are connected to each antenna element and driven by DC power generated in the huge solar panels. A frequency of 2.45 GHz is assigned to transmit power to the earth. The range of the beam scanning with a scan angle of degrees for the longitudinal direction and degrees for the latitudinal direction. Figure 1 also shows a scheme of microwave beam control and rectenna location. SPS2000 can serve exclusively the equatorial zone, especially benefiting geographically isolated lands in developing nations.

Figure 2. Configuration of the spacetenna.

Figure 2 illustrates a configuration of the Spacetenna. The Spacetenna has a square shape whose dimension is 132 meters by 132 meters and which is regularly filled with 1936 segments of subarray. The subarray is considered to be a unit of phase control and also a square shape whose edges are 3 meters. It contains 1320 units of cavity-backed slot antenna element and DC-RF circuit. Therefore, there will be about 2.6 million antenna elements in the spacetenna.

Figure 3. Block diagram of the spacetenna.

Figure 3 illustrates a block diagram of the spacetenna. The spacetenna is composed of pilot signal receiving antennas followed by detectors finding out the location of the rectenna on the earth, power transmission antenna elements and phase control systems. The left and right hand sides in Fig.3 correspond to parts of power transmission and direction detection, respectively. The antenna elements receiving the pilot signal have a polarization perpendicular to the antenna elements used in the power transmission so as to reduce effectively interactions between both antenna elements. Moreover, the pilot signal frequency and a frequency for the energy transmission are different from each other. Using two kinds of frequency for the power transmission and the pilot signal prevents each other from interfering and makes it possible to find out the accurate direction of a specified rectenna.

3. A Functional System Model of SPS2000

We design and build a functional system model of SPS2000 on the basis of the configuration of the power transmission system shown in the previous section. Its objectives are summarised as follows:

  1. To Validate effectiveness of SPS as a power system of the future.
  2. To show practical hardware requirements to construct SPS2000 for which the conceptual study has been performed upto now.
  3. To make it clear what technology should be developed for SPS2000 in the future. For this purpose, it is important to show all parts such as circuit components, elements and devices from which the spacetenna is constructed.

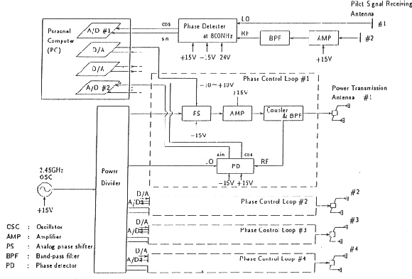
Figure 4 depicts a configuration of the functional system model. It is composed of an eight-element power transmission antenna array, a four-channel phase control loop and a pilot signal receiving system. Also, it includes a personal computer (PC) which estimates a direction of arrival of the pilot signal and adjusts values of phase to scan the antenna beam. Both systems of pilot signal reception and direction detection operate at 800 MHz. The direction of arrival of the pilot signal is determined by phase variations between two receiving antennas where the pilot signal is a sinusoidal wave of 800 MHz. The pilot signals received by the antenna elements are used in a phase detector (PD) to compare their phase values. Since input power to an RF port in a PD must be about 20 dB greater than that to the other port, an amplifier (AMP) and a band-pass filter (BPF) are inserted in front of the RF port. Since an additional phase shift occurs in an RF input signal through the AMP and the BPF, it should be compensated in the estimation of the pilot signal arrival direction. Two voltages in the PD outputs correspond to in-phase and quadrature components of the phase variations between input ports in the PD. The two voltages are captured by a PC through an A/D converter and used to compute the direction of travel of the pilot signal.

A power transmission antenna element is a cavity-backed slot antenna designed by the authors. An eight-element array antenna is used in the functional system model. As it is excited by a four-channel phase control loop, every two antenna elements are supplied by the same phase and power of about 1W by one of the phase control loops. Hence, this type of the antenna array achieves one-dimensional microwave beam scans.

Now we explain the phase control system in the spacetenna. There is an oscillator of 2.45 GHz as a signal generator in the system. The output power of the oscillator is distributed to components in the loop through several power dividers. The four phase control loops all have the same configuration that includes an analog phase shifter, an amplifier, a directional coupler, a band-pass filter and a phase detector. These components which are based on Si technology and connected to each other by coaxial cables adjusted in length are made from dielectric substrates (CGP-500, CGC-500) produced by Chuko Chemical Industries, LTD.

Figure 4 shows that the power divider has eight terminals, four for inputs exciting antenna elements after their phases are tuned in the control loops to form the microwave beam at a specified direction, and the other for reference signals used to estimate phases at input ports of the antenna. The phase variations are measured by the phase detectors which compare reference signals with antenna input signals, and the results are captured by a personal computer through an A/D converter. The PC carries out phase analysis and computes voltages for analog phase shifters to achieve the desired phase variations. The procedure mentioned above is repeated until the desired state in phase is obtained. Thus, the control loop realizes a desired microwave beam scan by repeatedly detecting the direction of arrival of the pilot signal and adjusting values of phase in the antennas.

4. Conclusion

This paper summarized the conceptual study of SPS2000, the solar power satellite strawman model, developed in Japan. We mentioned the spacetenna which was composed of the pilot signal receiving system and the power transmission system. Its functions are to detect the direction of arrival of the pilot signal and to scan the microwave beam to the specified direction by tuning values of phase in the analog phase shifters interconnected with the power transmission antennas. We designed and built the functional system model. Its objective is to realize the SPS2000 concept and to show the capability of SPS as the power system in space. We intend to validate experimentally performance of the functional system model on the microwave beam scan.

Acknowledgments

This research is supported by Grant-in-Aid for Developmental Scientific Research [A][2] 06505002 from the Ministry of Education, Science and Culture of Japan. The authors would like to thank Mr. Xiyi Zhu, a visiting scholar at Hokkaido University, for his profound contribution toward advancing the study on the spacetenna of SPS2000. He also designed microwave components operating at 2.45 GHz which comprise a phase control system in the functional system model. The authors would also like to acknowledge Professor N. Nagatomo of ISAS for his advise and valuable discussions. He is conducting the SPS2000 project.

References
  1. P E Glaser, F P Davidson and K L Csigi (ed), 1993, " Solar Power Satellites - the emerging energy option", Ellis Horwood Limited, New York
  2. SPS2000 task team for solar power satellite ( SPS) working group, July 1993, " SPS2000 Project Concept", Institute of Space and Astronautical Science
  3. M Nagatomo and K Itoh, 1993, "An Evolutionary Satellite Power System for International Demonstration in Developing Nations", Space Power Vol.12 No.1&2 pp 23-36
  4. R C Hansen (ed), 1964, " Microwave Scanning Antennas", Academic Press, New York
  5. K Itoh, M Omiya and Y Ogawa, May 1994, " A Phased-Array Antenna for Spacetenna of SPS2000", Proceedings of the Nineteenth International Symposium on Space Technology and Science
M Omiya & K Itoh, , "Development of a Functional System Model of the Solar Power Satellite, SPS2000", Proceedings of ISAP '46, Chiba, Japan.
Also downloadable from http://www.spacefuture.com/archive/development of a functional system model of the solar power satellite sps2000.shtml

 Bibliographic Index
Please send comments, critiques and queries to feedback@spacefuture.com.
All material copyright Space Future Consulting except as noted.